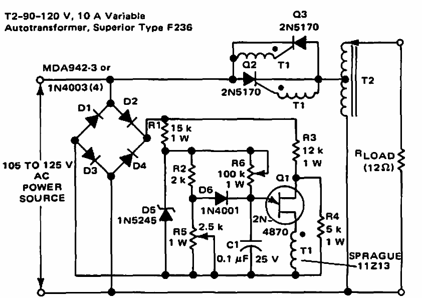
Este circuito foi encontrado numa documentação da Motorola de 1968. A corrente de carga é de 10 A. Os componentes usados são da época e não são dadas informações sobre o transformador.
Este circuito foi encontrado numa documentação da Motorola de 1968. A corrente de carga é de 10 A. Os componentes usados são da época e não são dadas informações sobre o transformador.