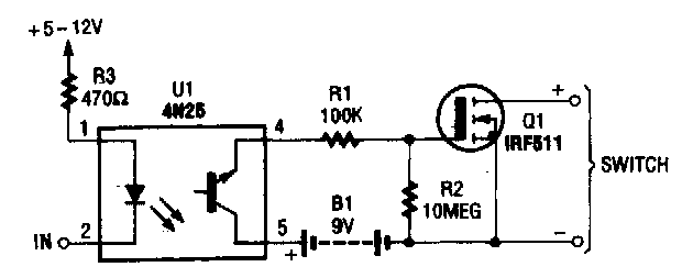
Encontrado numa Popular Electronics dos anos 90, este circuito pode ser implementado com praticamente qualquer isolador óptico e qualquer MOSFET de potência.

Encontrado numa Popular Electronics dos anos 90, este circuito pode ser implementado com praticamente qualquer isolador óptico e qualquer MOSFET de potência.
