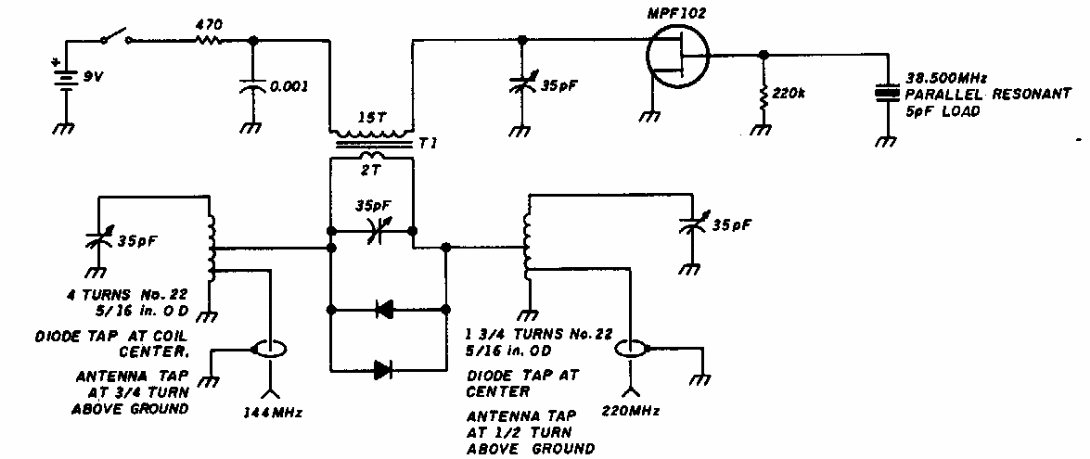
Com este conversor é possível receber sinais da faixa de 220 MHz em um receptor de 144 MHz. O circuito foi encontrado numa Ham Radio dos anos 90. T1 tem 15 espiras no rimário e 2 espiras no secundário com fio 24 num toroide apropriado.
Com este conversor é possível receber sinais da faixa de 220 MHz em um receptor de 144 MHz. O circuito foi encontrado numa Ham Radio dos anos 90. T1 tem 15 espiras no rimário e 2 espiras no secundário com fio 24 num toroide apropriado.