Gerador linear de varredura CIR16027S CB8942E (CIR19000)
Detalhes
Escrito por: Newton C. Braga
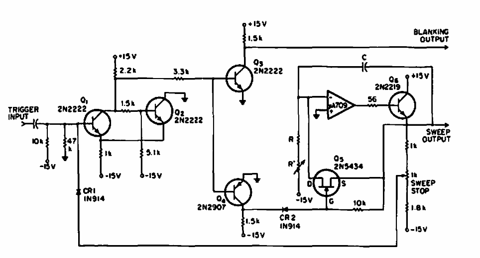
Encontrado em documentação de 969, este circuito gera sinais de varredura de 1 Hz a 100 kHz. Os componentes usados são da época, podendo ser utilizados equivalentes.