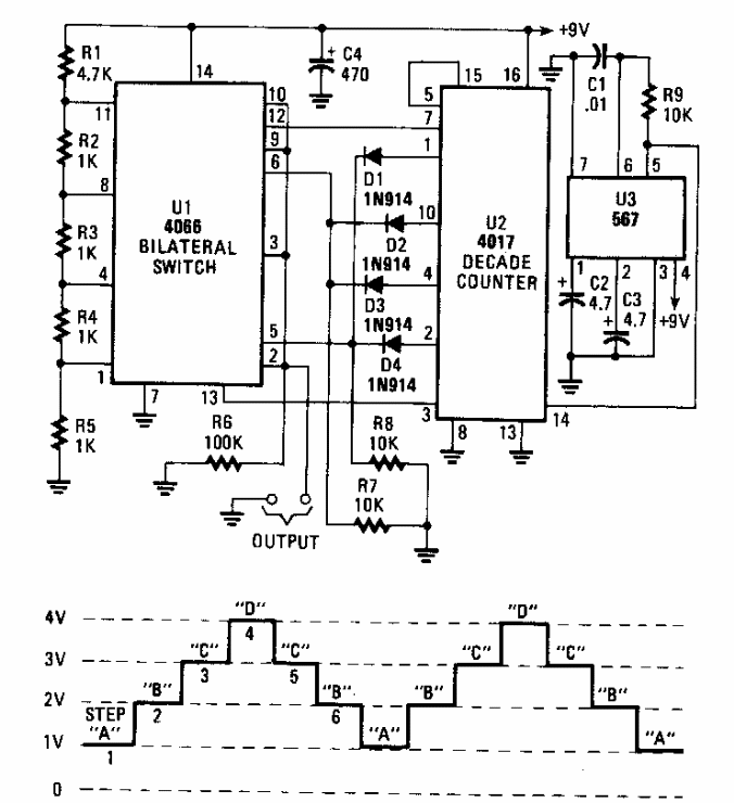
Este circuito foi encontrado numa Popular Electronics dos anos 90. O circuito usa componentes comuns atualmente. A forma de onda do sinal gerado é mostrada junto ao diagrama.
Este circuito foi encontrado numa Popular Electronics dos anos 90. O circuito usa componentes comuns atualmente. A forma de onda do sinal gerado é mostrada junto ao diagrama.