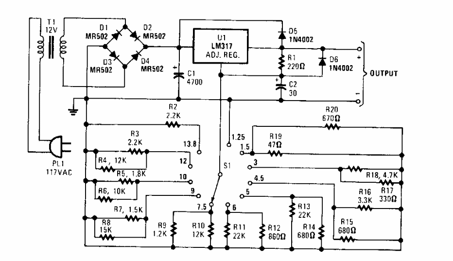
Este circuito de 1,5 A tem as tensões de saída ajustadas por uma chave seletora. Encontramos numa Popular Electronics dos anos 90. O circuito integrado deve ser dotado de dissipador de calor.
Este circuito de 1,5 A tem as tensões de saída ajustadas por uma chave seletora. Encontramos numa Popular Electronics dos anos 90. O circuito integrado deve ser dotado de dissipador de calor.