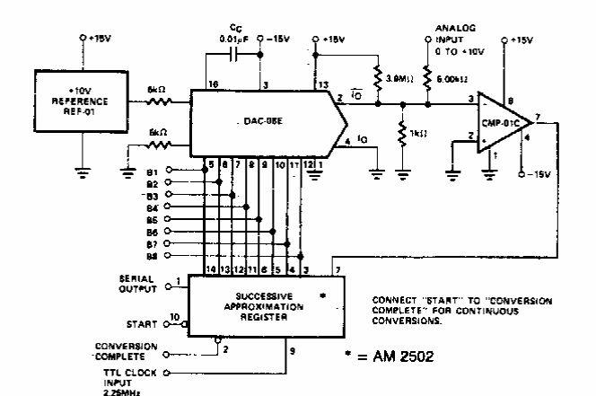
Encontrado em documentação americana dos anos 70, este circuito emprega componentes da época, pouco comuns em nossos dias.

 


| Clique na imagem para ampliar |

 

 

NO YOUTUBE


NOSSO PODCAST