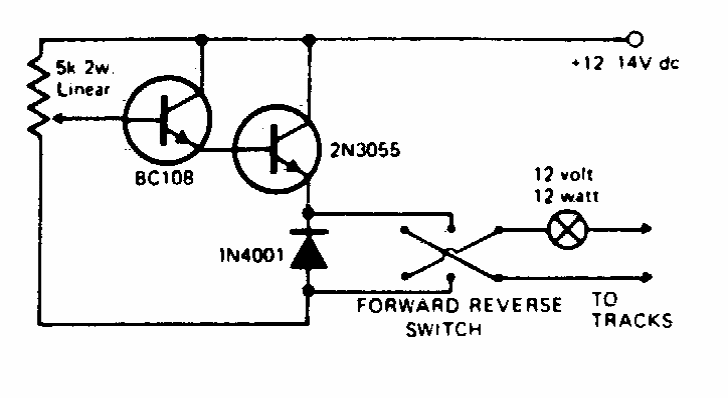
Este circuito usa um potenciômetro de fio, mas a corrente é muito mais intensa no controle graças ao 2N3055 que deve ser montado num dissipador de calor.

 


| Clique na imagem para ampliar |

 

 

NO YOUTUBE


NOSSO PODCAST