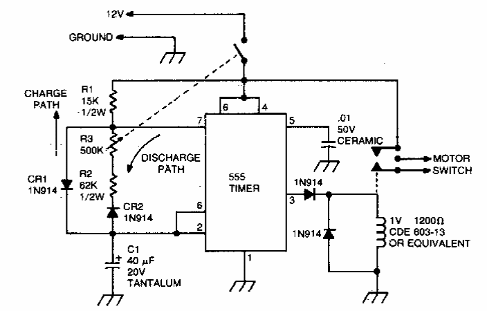
Esta configuração clássica de intervalador para limpador de para-brisas foi encontrada numa documentação americana dos anos 90. O circuito pode ser encontrado com variações em ouros pontos do site.

 


| Clique na imagem para ampliar |

 

 

 

NO YOUTUBE


NOSSO PODCAST