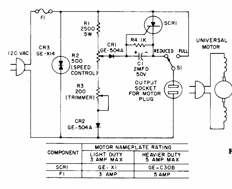
Este controle “plug-in” foi encontrado numa documentação da General Electric dos anos 70. O SCR pode ser o TIC106 montado em dissipador de calor. O circuito pode ser alterado para a rede de 220 V.
Este controle “plug-in” foi encontrado numa documentação da General Electric dos anos 70. O SCR pode ser o TIC106 montado em dissipador de calor. O circuito pode ser alterado para a rede de 220 V.