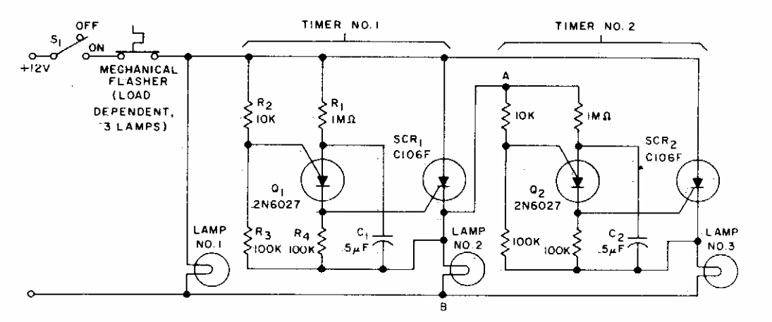
Este circuito foi encontrado em publicação americana dos anos 90. A mesma configuração aparece em diversos pontos deste site, obtida de diversas fontes. As lâmpadas podem ser substituídas por LEDs.
Este circuito foi encontrado em publicação americana dos anos 90. A mesma configuração aparece em diversos pontos deste site, obtida de diversas fontes. As lâmpadas podem ser substituídas por LEDs.