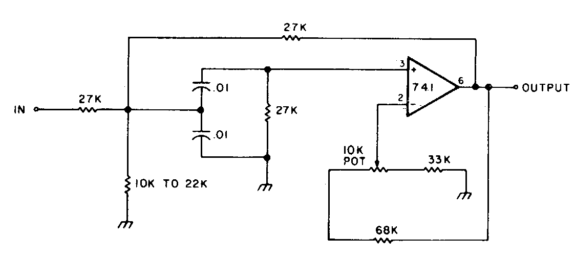
Encontrado numa documentação americana, este circuito tem largura de faixa ajustável. A alimentação deve ser simétrica e para os componentes usados a frequência central é de 800 Hz.
Encontrado numa documentação americana, este circuito tem largura de faixa ajustável. A alimentação deve ser simétrica e para os componentes usados a frequência central é de 800 Hz.