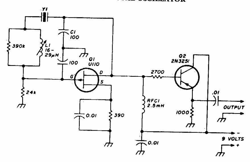
Encontrado numa documentação dos anos 80, este circuito pode gerar sinais entre 6 e 8 MHz. A frequência pode ser levemente variada no ajuste. O FET é de uso geral.