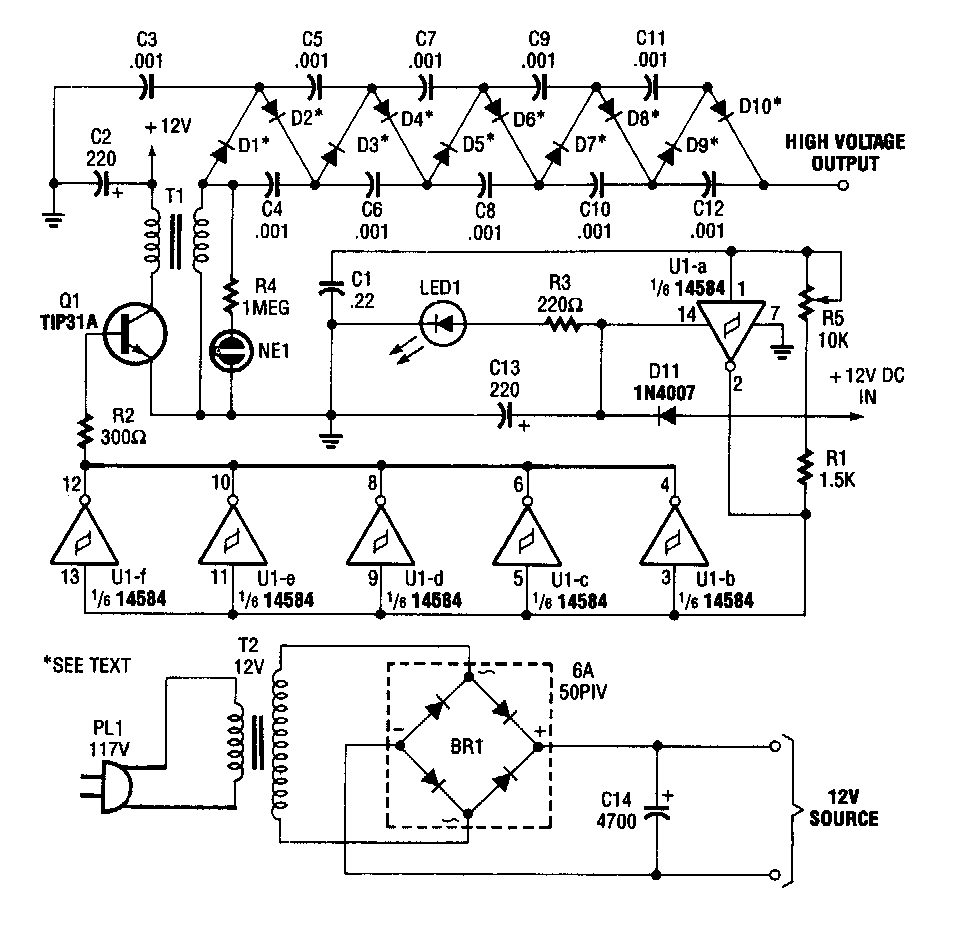
Encontrado numa Popular Electronics dos anos 90, este circuito pode ser usado para aplicações e experimentos de alta tensão. T1 tem enrolamento de 12 V x 1 A para Q1 e enrolamento de 110 V ou 220 V para a saída de alta tensão.
Encontrado numa Popular Electronics dos anos 90, este circuito pode ser usado para aplicações e experimentos de alta tensão. T1 tem enrolamento de 12 V x 1 A para Q1 e enrolamento de 110 V ou 220 V para a saída de alta tensão.