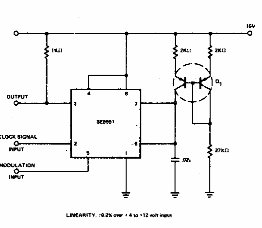
Este modulador linear foi encontrado numa documentação antiga. O circuito integrado usado é pouco comum atualmente, assim como o duplo transistor que consiste num par casado.

Este modulador linear foi encontrado numa documentação antiga. O circuito integrado usado é pouco comum atualmente, assim como o duplo transistor que consiste num par casado.
