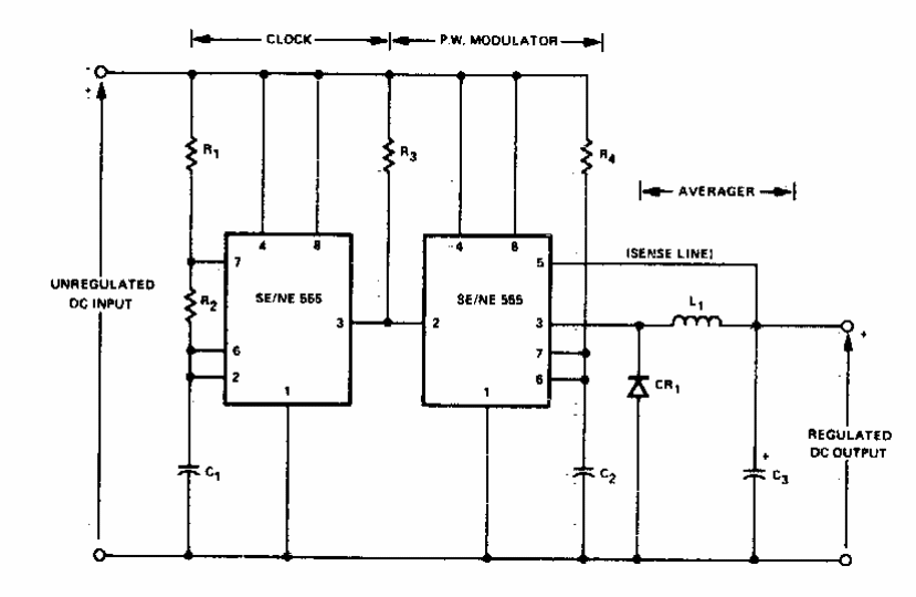
Encontrado numa documentação dos anos 70, este circuito usa circuitos integrados da época, sem maiores informações sobre suas condições de funcionamento.

 


| Clique na imagem para ampliar |

 

 

 

NO YOUTUBE


NOSSO PODCAST