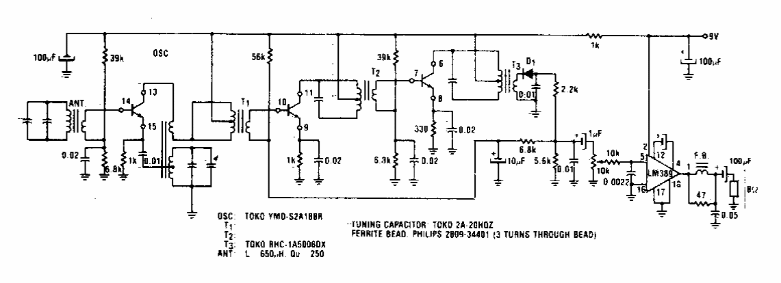
Este rádio para a faixa de AM tem a configuração tradicional de super-heteródino com vários transistores e circuito integrado amplificador de áudio. O circuito é dos anos 70.

 


| Clique na imagem para ampliar |

 

 

 

NO YOUTUBE


NOSSO PODCAST