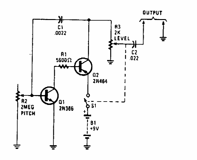
Encontrado numa Popular Electronics, este circuito dos anos 90 gera sinais ricos em harmônicas para testes de equipamentos de áudio.

Encontrado numa Popular Electronics, este circuito dos anos 90 gera sinais ricos em harmônicas para testes de equipamentos de áudio.
