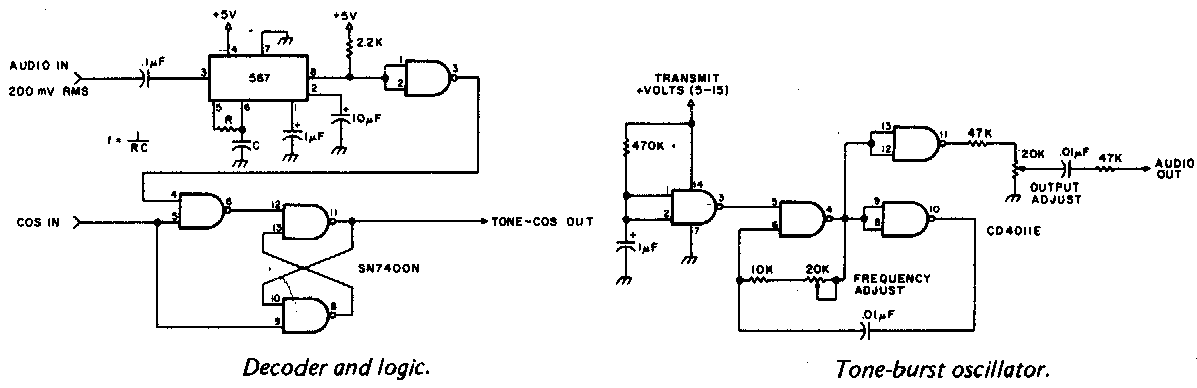
Os circuitos dados a seguir foram encontrados em documentação americana antiga. O circuito pode ser implementado com outras lógicas.

 


| Clique na imagem para ampliar |

 

 

 

NO YOUTUBE


NOSSO PODCAST