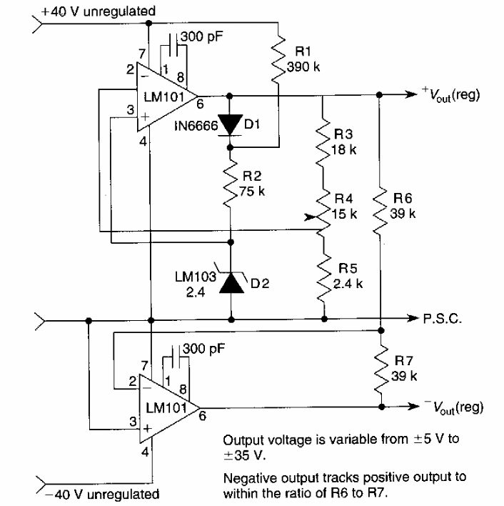
Este circuito foi encontrado numa documentação da National Semiconductor dos anos 90. Os amplificadores operacionais admitem equivalentes.

 


| Clique na imagem para ampliar |

 

 

NO YOUTUBE


NOSSO PODCAST