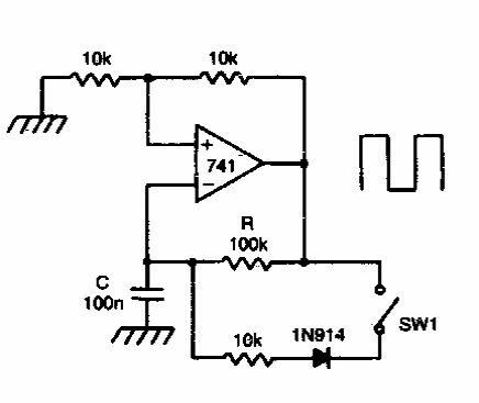
Este circuito foi encontrado em documentação antiga, podendo ser empregados outros operacionais. A fonte de alimentação deve ser simétrica. O sinal de saída é retangular.

Este circuito foi encontrado em documentação antiga, podendo ser empregados outros operacionais. A fonte de alimentação deve ser simétrica. O sinal de saída é retangular.
