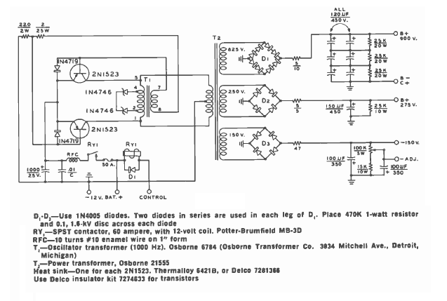
Encontrado numa documentação para radioamadores de 1977, este circuito destina-se a alimentação de equipamentos a partir de 12 V da bateria de carro. Os transistores são tipos de potência da época.

 


 

 

 

 

NO YOUTUBE


NOSSO PODCAST