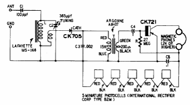
Este simples receptor dos anos 60 é alimentado por células solares da época. O transistor é de germânio e o fone deve ser de alta impedância.

Este simples receptor dos anos 60 é alimentado por células solares da época. O transistor é de germânio e o fone deve ser de alta impedância.
