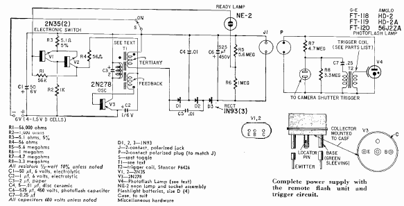
Este circuito foi encontrado na revista Radio Electronics de abril de 1960. Estava num artigo que ensinava como realizar sua montagem. O circuito é alimentado por baterias.

Este circuito foi encontrado na revista Radio Electronics de abril de 1960. Estava num artigo que ensinava como realizar sua montagem. O circuito é alimentado por baterias.
