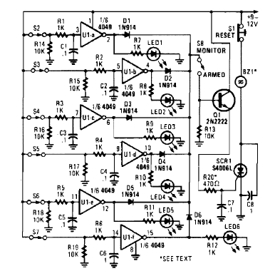
Encontramos este circuito na Einciclopédia de Circuitos Eletrônicos de 1995..O circuito dispara um buzzer a partir de diversos sensores. A edição é da Poptronics.

Encontramos este circuito na Einciclopédia de Circuitos Eletrônicos de 1995..O circuito dispara um buzzer a partir de diversos sensores. A edição é da Poptronics.
