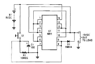
Este circuito desliga automaticamente pequenos dispositivos alimentados por bateria depois de certo tempo, economizando a bateria. Encontramos numa Popular Electronics dos anos 90.

Este circuito desliga automaticamente pequenos dispositivos alimentados por bateria depois de certo tempo, economizando a bateria. Encontramos numa Popular Electronics dos anos 90.
