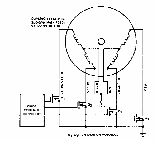
Sugerido por documentação da Siliconix dos anos 90, este circuito usa MOSFETs de potência de acordo com a corrente do motor controlado.

Sugerido por documentação da Siliconix dos anos 90, este circuito usa MOSFETs de potência de acordo com a corrente do motor controlado.
