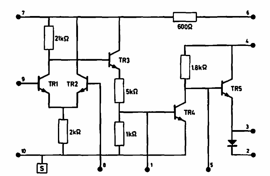
Este driver para sinais de áudio usando o circuito integrado TAA435 foi encontrado em documentação da Philips de 1968. O circuito integrado é difícil de obter atualmente.

 


| Clique na imagem para ampliar |

 

 

 

NO YOUTUBE


NOSSO PODCAST