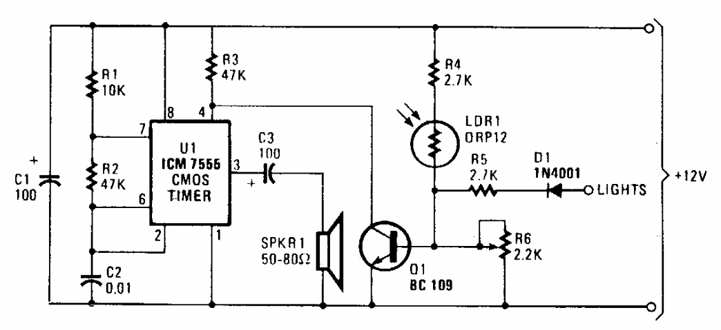
Este circuito emite um som de aviso quando anoitece. O circuito é de uma Hands On Electronics dos anos 90. O Sensor é um LDR comum e R6 ajusta o ponto de disparo.

 


| Clique na imagem para ampliar |

 

 

 

NO YOUTUBE


NOSSO PODCAST