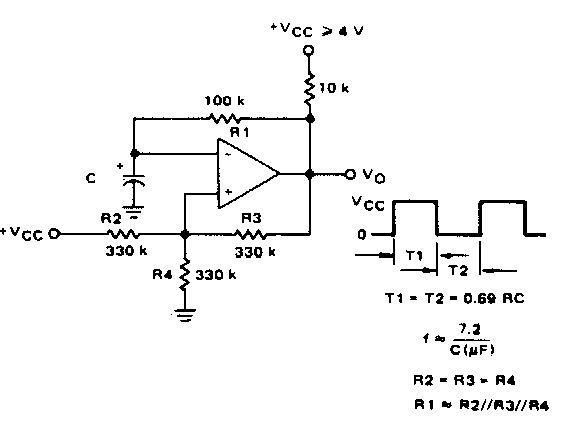
Este circuito convencional de multivibrador astável com amplificador operacional pode ser encontrado em outros pontos deste site. Ele se aplica a qualquer operacional. As fórmulas para cálculo dos componentes estão junto ao diagrama.

Este circuito convencional de multivibrador astável com amplificador operacional pode ser encontrado em outros pontos deste site. Ele se aplica a qualquer operacional. As fórmulas para cálculo dos componentes estão junto ao diagrama.
