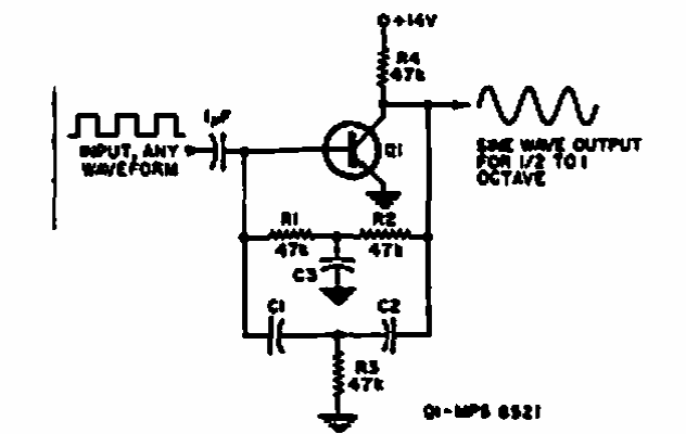
Este circuito foi obtido numa Electronics World de 1968. O transistor pode ser de uso geral e a frequência é determinada pelos componentes do duplo T. O sinal de saída é senoidal.

Este circuito foi obtido numa Electronics World de 1968. O transistor pode ser de uso geral e a frequência é determinada pelos componentes do duplo T. O sinal de saída é senoidal.
