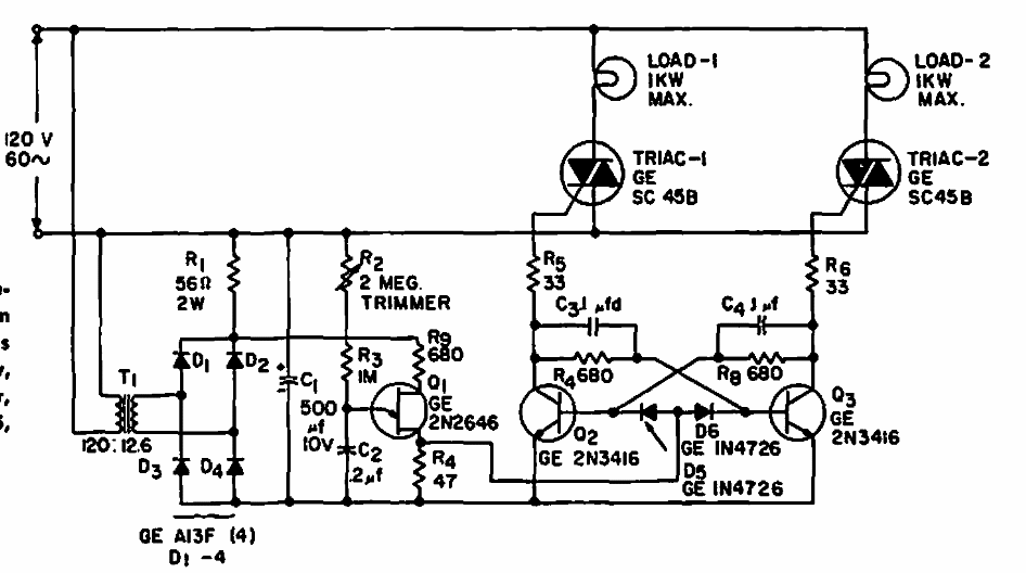
Este circuito foi obtido num manual da General Electric de 1966. O circuito se aplica apenas a lâmpadas incandescentes que piscam alternadamente em frequência dada por R2. Os transistores podem ser equivalentes atuais de uso geral.
Este circuito foi obtido num manual da General Electric de 1966. O circuito se aplica apenas a lâmpadas incandescentes que piscam alternadamente em frequência dada por R2. Os transistores podem ser equivalentes atuais de uso geral.