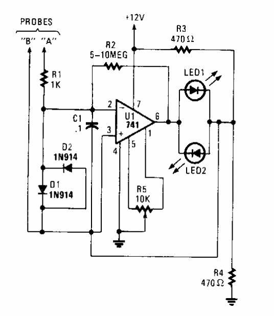
Encontrado numa Popular Electronics dos anos 90, este circuito tem seu ganho dado por R2. Este componente pode ser alterado conforme o ganho desejado. A fonte não precisa ser simétrica.

Encontrado numa Popular Electronics dos anos 90, este circuito tem seu ganho dado por R2. Este componente pode ser alterado conforme o ganho desejado. A fonte não precisa ser simétrica.
