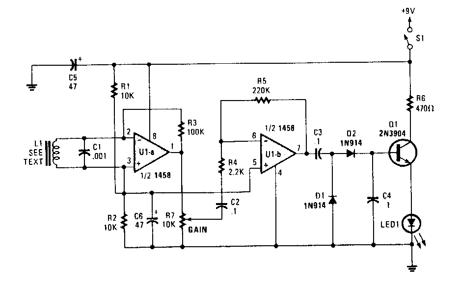
Encontramos este circuito numa Popular Electronics dos anos 90. O circuito faz uso de uma bobina captadora que consiste em 100 a 200 espiras de fio 28 em torno do cabo a ser monitorado.
Encontramos este circuito numa Popular Electronics dos anos 90. O circuito faz uso de uma bobina captadora que consiste em 100 a 200 espiras de fio 28 em torno do cabo a ser monitorado.