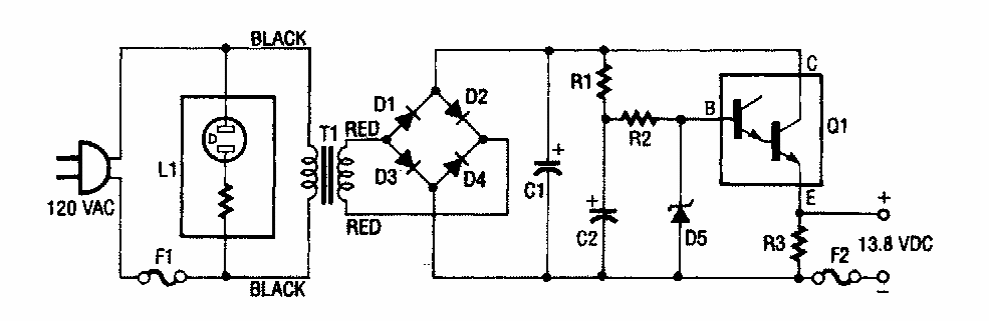
Encontrada numa PE Hobbyst de 1991, esta fonte de 13,6 V com corrente de 2 A é indicada para alimentação na bancada de equipamentos de uso automotivo. O transistor de potência pode ser qualquer Darlington de 3 A ou mais montado em dissipador.

 


| Clique na imagem para ampliar |

 

 

 

NO YOUTUBE


NOSSO PODCAST