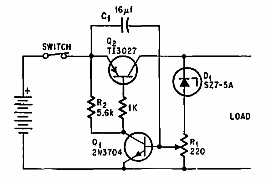
Este sensor de tensão limita a descarga de uma bateria de Nicad. Encontramos numa documentação americana de 1968. Podem ser usados componentes equivalentes.

 

 


| Clique na imagem para ampliar |

 

 

 

NO YOUTUBE


NOSSO PODCAST