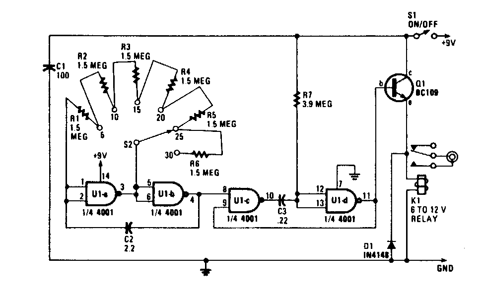
Este circuito é do tempo em que se usavam os projetos de slides. Encontramos numa Wels’Think Tank dos anos 90. Os tempos de avanço podem ser ajustado de 5 a 30 segundos.
Este circuito é do tempo em que se usavam os projetos de slides. Encontramos numa Wels’Think Tank dos anos 90. Os tempos de avanço podem ser ajustado de 5 a 30 segundos.