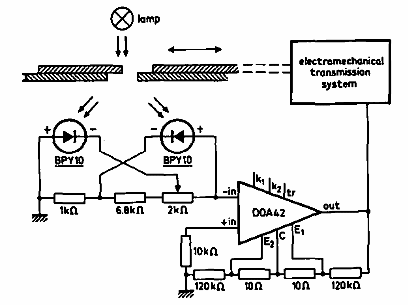
Este circuito fotoelétrico foi encontrado em documentação da Ferranti dos anos 70. O circuito usa um operacional da época. Componentes equivalentes modernos podem ser usados num novo projeto.
Este circuito fotoelétrico foi encontrado em documentação da Ferranti dos anos 70. O circuito usa um operacional da época. Componentes equivalentes modernos podem ser usados num novo projeto.