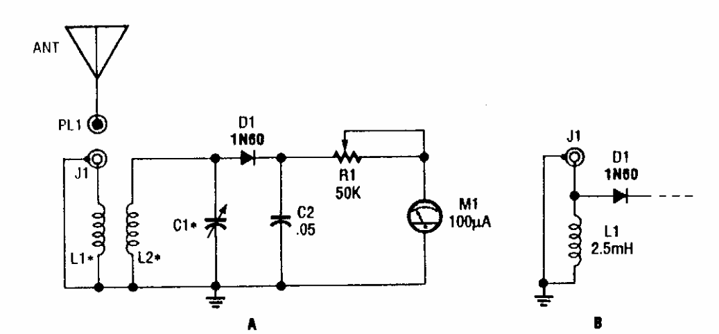
Este circuito sintonizado passivo foi encontrado numa Popular Electronics dos anos 90. As bobinas devem ser de acordo com a faixa de onda monitorada.

 


| Clique na imagem para ampliar |

 

 

 

NO YOUTUBE


NOSSO PODCAST