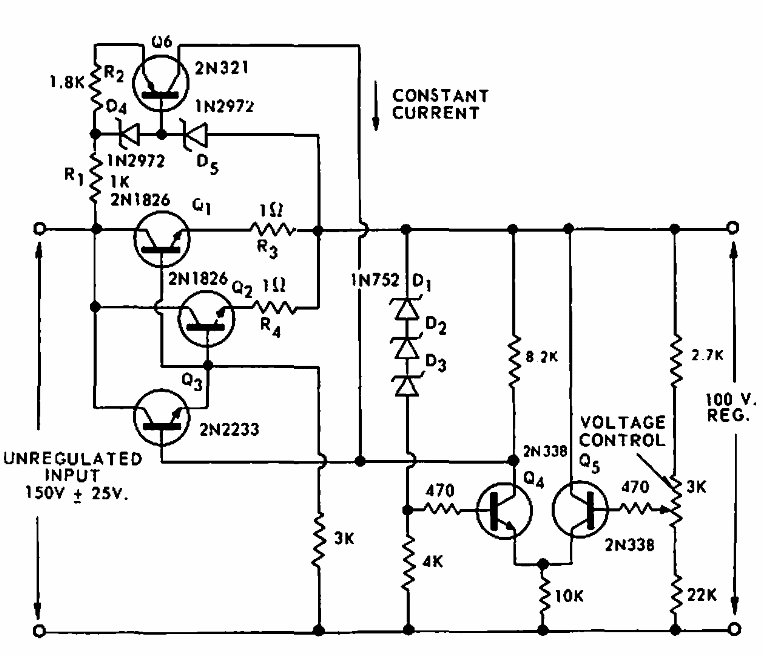
Encontrada num Silicon Power Handbook da Westinghouse dos anos 60, este circuito faz uso de componentes da época. São usados transistores especiais de alta tensão. Os zeners são de 15 V.
Encontrada num Silicon Power Handbook da Westinghouse dos anos 60, este circuito faz uso de componentes da época. São usados transistores especiais de alta tensão. Os zeners são de 15 V.