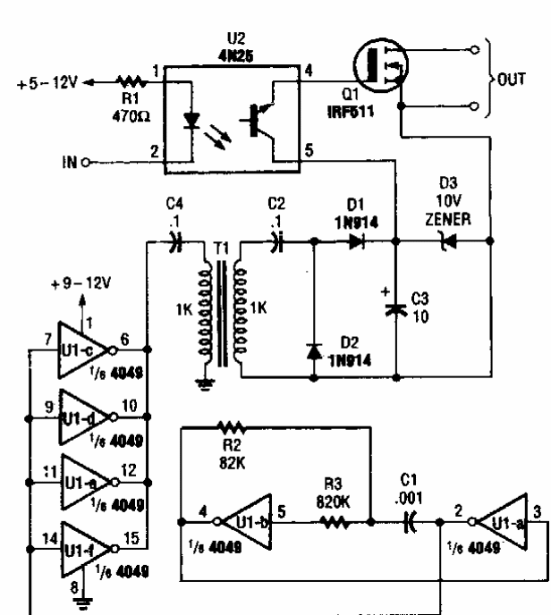
Esta interessante configuração de disparo óptico usando um oscilador foi encontrada numa Popular Electronics dos anos 90. Detalhes do transformador não foram dados.

Esta interessante configuração de disparo óptico usando um oscilador foi encontrada numa Popular Electronics dos anos 90. Detalhes do transformador não foram dados.
