Simples teste de continuidade CIR15665S CB8637E (CIR18629)
Detalhes
Escrito por: Newton C. Braga
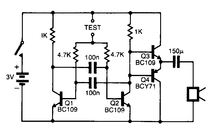
Este teste de continuidade foi encontrado numa Electronic Engineering dos anos90. Os transistores são tipos de uso geral da época com equivalentes como o BC548 e BC558.