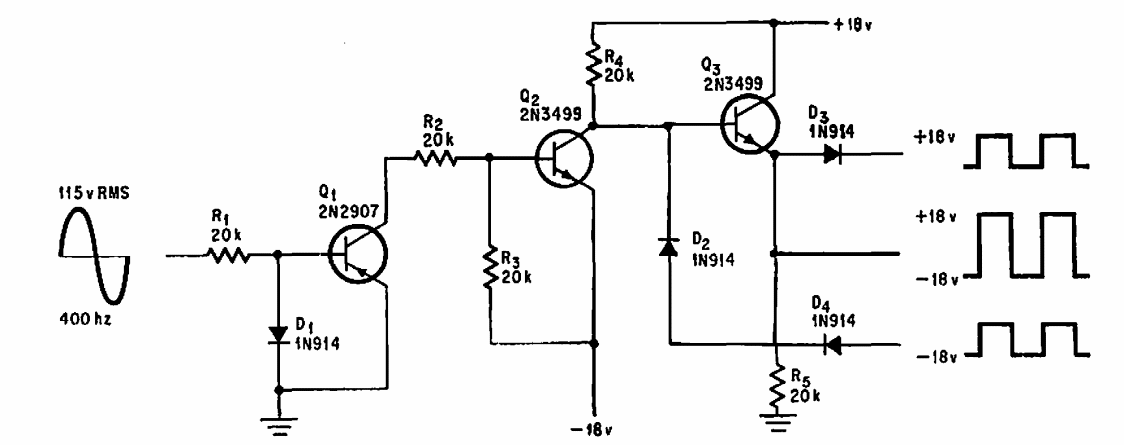
Este circuito foi encontrado em documentação de 1968. O circuito gera três sinais retangulares a partir de uma entrada senoidal de 400 Hz. O circuito é indicado para aplicações em controles de potência.
Este circuito foi encontrado em documentação de 1968. O circuito gera três sinais retangulares a partir de uma entrada senoidal de 400 Hz. O circuito é indicado para aplicações em controles de potência.