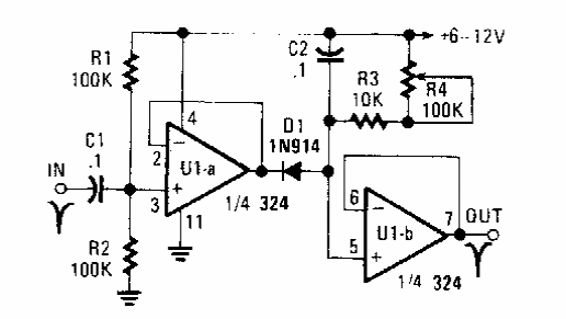
Encontramos este circuito numa Popular Electronics dos anos 90. Ele aumenta a duração de um pulso numa proporção determinada pelos ajustes de R4 e de C2.

Encontramos este circuito numa Popular Electronics dos anos 90. Ele aumenta a duração de um pulso numa proporção determinada pelos ajustes de R4 e de C2.
