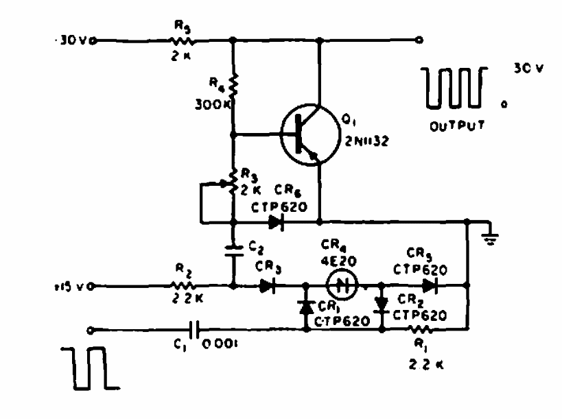
Este circuito dobra a frequência de um sinal retangular aplicado a sua entrada. O circuito tem entrada de 30 kHz para obter sinais de 60 kHz. Encontramos em uma Electronic Design de 1964.
Este circuito dobra a frequência de um sinal retangular aplicado a sua entrada. O circuito tem entrada de 30 kHz para obter sinais de 60 kHz. Encontramos em uma Electronic Design de 1964.