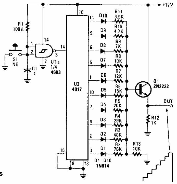
Encontrado numa Radio Electronics antiga, este circuito usa componentes comuns em nossos dias. Os resistores da saída do CI determinam os degraus da escada.

 


| Clique na imagem para ampliar |

 

 

NO YOUTUBE


NOSSO PODCAST