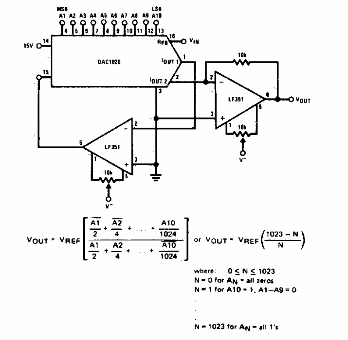
Encontramos este circuito numa documentação americana dos anos 70. Os circuitos integrados são da época. O circuito pode ser aplicado a componentes equivalentes modernos.
Encontramos este circuito numa documentação americana dos anos 70. Os circuitos integrados são da época. O circuito pode ser aplicado a componentes equivalentes modernos.