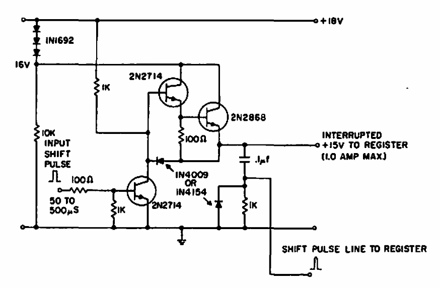
Este circuito foi obtido numa documentação da General Electric de 1960. Ele é aplicado no controle de registradores da época.

 

 


| Clique na imagem para ampliar |

 

 

NO YOUTUBE


NOSSO PODCAST