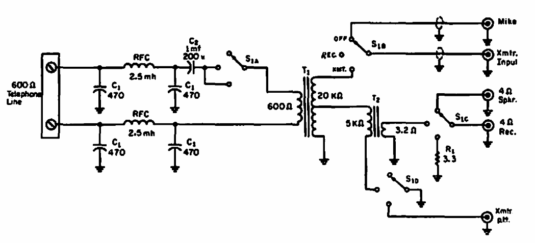
Este circuito foi encontrado numa revista CQ de 1969. Ele se destina ao acoplamento de telefones em equipamentos de radioamadores.