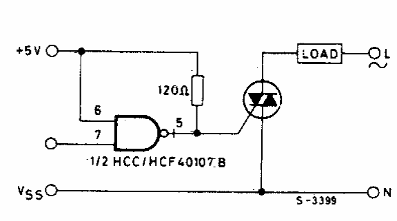
Este driver CMOS para triac foi encontrado numa documentação dos anos 80. O circuito tem ação direta, servindo para acionar triacs sensíveis. O circuito pode ser usado como um shield.

Este driver CMOS para triac foi encontrado numa documentação dos anos 80. O circuito tem ação direta, servindo para acionar triacs sensíveis. O circuito pode ser usado como um shield.
